丁丁打折网 - 网友优惠券分享网站,有688999个用户

京东优惠券 小米有品优惠券

当前位置 : 首页>web3>NOTE协议:比特币智能合约新纪元?

NOTE协议:比特币智能合约新纪元?

类别:web3 发布时间:2025-07-30 20:20

NOTE协议:比特币原生智能合约的新篇章

NOTE协议,对于比特币来说,绝对是一次大胆的创新。它就像给比特币装上了一个强大的引擎,让它不仅仅能转账,还能跑复杂的智能合约。

这个协议最厉害的地方在于,它采用了一种和TypeScript很像的语言来写智能合约,然后把这些合约编译成比特币能直接理解的指令。这意味着,我们可以在比特币上实现各种各样的功能,比如预言机和零知识证明。

和其他协议不太一样的是,NOTE协议非常注重安全性。它完全基于密码学,由比特币矿工来保证资产的所有权。这样就避免了因为索引器出错而导致的问题。而且,NOTE协议的交易成本非常低,不需要像其他协议那样发送两次交易。更重要的是,它支持智能合约,可以实现很多有趣的功能。

NOTE协议发行的是比特币原生资产,不涉及使用BTC作为抵押在其他链上发行和交易资产的操作。

NOTE协议支持跨链,可以将比特币上的原生资产发送给其他UTXO链,以及接收来自其他UTXO链的资产。这一切都基于密码学和比特币区块链共识。

NOTE协议,完全来自比特币开发社区开发者的开发。

技术解读:UTXO模型的复兴

最近,UTXO模型又重新受到了大家的关注。比特币作为数字货币的基石,需要一些好用的技术方案,NOTE协议就是其中之一。

UTXO模型相比EVM模型,在效率和并发方面有很大的优势。但是,在UTXO模型的比特币上发行原生资产,有很多问题需要解决,其中最主要的就是如何标识资产。

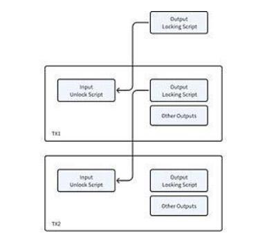
一个UTXO形式的交易如下图:

NOTE协议采取了一种创新的方法来处理比特币交易和资产的管理,这种方法与其他协议方案有显著的不同。在传统的比特币交易中,交易的输入部分解锁了之前交易的输出(即旧的UTXO),并生成新的交易输出(即新的UTXO)。在其他协议方案中,资产被绑定在新生成的UTXO上,导致用户的资产分散在不同的UTXO中。这种方式需要索引器和wallet维护一个详尽的UTXO列表来确保资产绑定关系的准确性,同时必须非常谨慎地管理带有资产标记的UTXO,以避免误花费,并且必须一次性花费整个UTXO。

相比之下,NOTE协议采用了一种将交易输出视为用户账号的方法,其中用户的账号由其交易输出脚本哈希表示,如同示例中的TX1交易输出所示。这种账号是完全隐私的,其绑定的资产类型和数量源自于TX1的解锁输入。当在TX2中花费这些资产时,经过比特币矿工的确认解锁后,会生成新的交易输出。在这个过程中,NOTE协议的索引器仅需记录在解锁时公开的交易细节,并且能够在区块确认后提供默克尔证明来验证交易的有效性。

这种设计不仅简化了资产的追踪和管理,减少了用户资产分割的问题,还增加了交易的隐私性。通过将交易输出用作账号,并依赖于比特币网络的矿工验证和区块链共识机制,NOTE协议为数字资产的管理提供了一种更加安全、高效和隐私保护的方法。

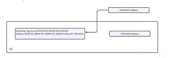
一个典型的Taproot P2TR格式的交易如下所示:

NOTE协议采用的技术策略与Ordinals和Atomicals协议有显著的不同之处。Ordinals和Atomicals利用P2TR(Taproot)的赎回脚本,通过添加OP_FALSE OP_IF操作码构造了一个不可访问的数据区域,以此来嵌入额外数据。而NOTE协议则允许通过操作码直接操作解锁数据,提高了数据的可用性。在NOTE协议中,示例脚本能够直接从堆栈中弹出数据,更复杂的脚本则能实现如hashlock等链上的检查功能。

此外,NOTE协议不限于使用P2TR,它还可以通过P2SH(Pay to Script Hash)、P2WSH(Pay to Witness Script Hash)和非标准脚本来实现,这增加了协议的灵活性和跨链资产交易的能力。NOTE协议使用msgpack数据编码而不是json编码,这种方式更为紧凑,有助于减少每笔交易的数据量,从而降低用户的交易成本。

在NOTE协议中,由特定的赎回脚本构建的地址充当用户账户。这些账户地址在被正确解锁时才能被矿工确认。解锁脚本中包含的资产交易数据在解锁时被索引器识别,并进行链下智能合约处理。只有在链下合约验证通过的资产交易才会被索引器记录,这一机制有效防止了比特币wallet误花费NOTE的UTXO,并且使得UTXO中的微量比特币(例如546 Satoshi)可以被回收。

NOTE协议的设计考虑了比特币网络自2017年以来关于隐私和交易空间优化的多次升级。与此同时,它也借鉴了BSV(Bitcoin SV)所代表的大区块策略,深入挖掘比特币脚本的潜能。NOTE协议的智能合约解决方案是基于sCrypt团队开发的比特币智能合约语言,该语言支持链下合约验证。由于比特币脚本语言是图灵完备的且可以确保在给定的脚本长度内执行完成,因此索引器不会因智能合约设计不当而陷入死循环,保证了系统的稳定性和效率。

演示用的N20资产发行智能合约项目已经被发布在GitHub上。

https://github.com/NoteProtocol/scryptdemo

它演示了NOTE协议下的Pow合约通过模拟比特币挖矿的减半机制和Atomicals的Bitwork难度挖矿,展示了在比特币网络上实现复杂逻辑的能力。通过生成1KB大小的比特币脚本,该合约允许索引器调用并校验交易是否符合协议规定,这一过程体现了智能合约在比特币网络中应用的可行性和灵活性。

更复杂的基于Rabin签名算法的Oracle和基于零知识证明的复杂合约则提供了高级别的应用场景。这些技术在智能合约的实现中,特别是在需要验证特定条件或执行特定逻辑时,发挥着至关重要的作用。

通过利用这些智能合约,比特币上的资产发行可以被用于实现真实世界的应用场景,例如AI解决问题的悬赏金场景。在这类场景中,只要有人能提交一个可验证的计算结果,就能获得奖赏。这不仅显示了比特币智能合约的实用性,还展示了它们如何促进复杂应用的实现,这些应用超越了传统的金融交易和资产管理。

N20 Token资产发行功能是NOTE协议中众多功能中的一部分。NOTE协议还包括DID(去中心化身份)以及加密数据和所有权标识,并且随着N721 NFT和Alias(比特币别名系统)的制定和验证进程,NOTE协议的能力和应用范围预计将进一步扩展。

为了让用户能够体验N20 Token的铸造(mint)和转移(transfer),一个命令行wallet已经发布在GitHub上,而开源的索引器也计划将被发布。

NOTE协议背后的开源代码贡献者们强调,所有内容仅用于技术探讨,任何资产的发行和炒作都与代码贡献者无关。NOTE仅仅是一个开源的技术项目。

随着NOTE协议的进一步开发和完善,可以预见将有更多基于此协议的真实应用诞生,这些应用将利用NOTE协议的独特功能和优势,在比特币以及更广泛的区块链领域创造新的价值和可能性。开源社区的持续贡献和协作精神是推动这一进程不可或缺的力量。

丁丁打折网©版权所有,未经许可严禁复制或镜像 ICP证: 湘ICP备2023003002号-11

Powered by 丁丁打折网本站为非营利性网站,本站内容均来自网络转载或网友提供,如有侵权或夸大不实请及时联系我们删除!本站不承担任何争议和法律责任!
技术支持:丁丁网 dddazhe@hotmail.com & 2010-2020 All rights reserved